Ficha técnica
El ajustador de herramientas de torneado TTS-100 trabaja en conjunto con el Gouge Jig SVD-186 y el Multi Jig SVS-50, permitiéndote afilar tus herramientas con máxima precisión y eficiencia. Al conocer los perfiles exactos de tus herramientas, el TTS-100 permite replicarlos en segundos, acelerando radicalmente el proceso de afilado.
Beneficios del Ajustador TTS-100:
✔ Replicación exacta del ángulo de borde, incluso cuando el diámetro de la piedra disminuye.
✔ Precisión en cada afilado, independientemente del diámetro de la piedra o la rueda de afilado de cuero.
✔ Afilado consistente en todas las herramientas, asegurando un rendimiento uniforme en el torno.
✔ Ideal para torneado de madera, gubias y herramientas con perfiles complejos.
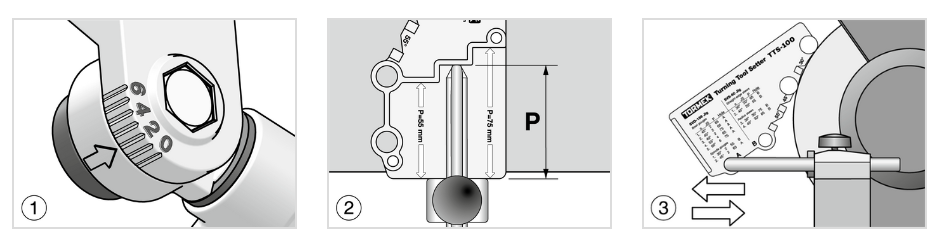
Tres Factores Clave para un Afilado Perfecto
Para obtener una réplica exacta de la forma y el ángulo del borde, el TTS-100 se basa en tres factores clave:
- Configuración de la plantilla (JS)
- Protuberancia de la herramienta en la plantilla (P)
- Distancia a la piedra (agujero A o B)

Seleccione su forma
En la Tabla de selección de Tormek, puede elegir entre los perfiles comunes el que mejor se adapte a usted y a su torneado, consulte a continuación. Por supuesto, también puede crear su propia receta si lo desea. Las formas más comunes están numeradas e impresas en el colocador.

Una herramienta puede tener un número ilimitado de combinaciones de formas y ángulos de borde. Sin embargo, cada herramienta nueva tiene una forma única que puede diferir de cualquier otra en el gráfico. Para obtener mejores resultados, es crucial dar forma a su herramienta según una geometría establecida. Esto facilitará los afilados posteriores, que se podrán realizar en menos de un minuto.
Es importante seguir la forma seleccionada y evitar cambiar entre diferentes geometrías. Al hacerlo, aprovechará al máximo el Tormek TTS-100 Setter, lo que le permitirá replicar la misma forma con precisión en cada afilado. Esto mejorará la eficiencia de su afilado, ahorrando tiempo y optimizando su proceso de trabajo.

Marca: Tormek
Origen: Suecia

Notas:
* Las Fotografías son Reales y Originales del Catalogo Tormek